
|
TP-LINK路由器是经典的11n无线路由器,集有线无线于一体,符合802.11n(Draft 2.0)标准。采用MIMO技术,可提供更好的无线传输性能、稳定性和无线覆盖范围。同时采用CCA技术,能自动避开频道干扰并充分利用频道捆绑优势。
第一步:进入设置规则 1、进入上网控制 [1]登录路由器管理界面,点击 高级设置,进入设置界面,如下图:
[2]点击 上网控制 >> 行为管理,如下图:
第二步:设置经理上网规则 1、新建规则 [1]在设置界面点击 添加,添加经理电脑的访问权限。点击受控主机栏的 配置,如下图:
2、添加受控主机 [2]添加经理电脑的MAC地址(也可以控制经理电脑的IP地址),如下图:
3、添加访问目标 [1]经理可以访问任意目标,点击 使用,如下图:
4、添加时间 [1]经理在任意时间访问任意网站,所以选择 任意时间,如下图:
5、保存设置 [1]添加经理规则完成后,点击 保存,如下图:
第三步:设置员工上网规则 与添加经理电脑相同,点击 添加,设置员工访问规则。 本例使用员工的IP地址段(所有电脑)控制上网规则。如下图: 1、添加员工主机
注意:由于经理MAC地址已经被控制,所以地址段包含经理电脑不影响经理的权限。 2、添加DNS服务器 添加员工在任何时间、访问任何目标的DNS服务,如下图:
3、添加员工访问官网 新建规则,设置员工在任何时间可以访问官方网站(www.tp-link.com.cn),如下图:
4、发邮件规则添加 新建规则,允许员工在任何时间发邮件(SMTP,TCP 25号端口),如下图:
按照同样的方法,添加员工收邮件的规则(POP3 TCP 110端口)。 5、添加非工作时间规则 新建规则,添加员工在非工作时间可以访问任意网站,非上班时间添加如下:
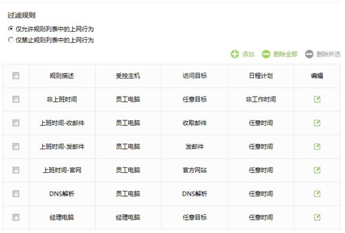
规则设置完毕后如下:
第四步:启用上网控制功能 过滤规则选择 仅允许规则列表中的上网行为(表中的规则允许,其他不符合规则的均不允许通过),如下图:
开启行为管理总开关,如下图:
至此,上网控制功能设置完成。办公网络内的所有电脑均会按照设置的规则进行上网应用。 TP-LINK无线路由采用UFO幽浮外观,造型时尚;信号灵敏、界面友好、功能强大、安全放心。它性价比很高,适合家庭、学生、商务人士使用。 |
温馨提示:喜欢本站的话,请收藏一下本站!